Sony patent application US20150021461 "Image sensor and electronic device" by Toshiyuki Nishihara and Hirofumi Sumi proposes a buried channel TG and binary detector to reduce influence of TG surface traps in very low light image sensors:
"since a pixel signal is extremely weak when weak light is detected, it is desirable to reflect electrons generated from photoelectric conversion on intensity of the pixel signal while losing as few electrons as possible. In general, however, when electrons generated in a photodiode are transferred to a floating diffusion, carriers (electrons) are doped at an interface level generated due to a defect present on a gate oxide film interface (interface defect) of a transfer transistor."
"there is provided an image sensor including pixels each configured to include a transfer transistor configured as an embedded channel type MOS transistor and to output a pixel signal based on a charge transferred to a floating diffusion from a photodiode by the transfer transistor in an on state, and a determination unit configured to convert the output pixel signal to a digital value, then compare the converted digital value to a threshold value, and thereby make a binary determination on presence or absence of incidence of a photon on the pixel that has generated the pixel signal. Accordingly, the image sensor that makes a binary determination on presence or absence of incidence of a photon on a pixel exhibits the effect of reducing influence of an interface state on the transfer transistor."
Sabtu, 31 Januari 2015
Rambus Announces Supply Noise Monitor
Rambus introduces an interesting IP block, the On-chip Noise Monitor, potentially useful for debugging the on-chip noise problems. The monitor is available in TSMC 40G/LP and GF28HPP/SLP processes and have a noise resolution on 200uV/LSB in bandwidth up to 3-6GHz. LabStation software enables fully automated measurements, post-processing, and data visualization, including noise spectrum:
A short Youtube video demos the system:
A short Youtube video demos the system:
Omnivision to Benefit from Selfie Trend
Barron's: Rosenblatt Securities‘s analyst Brian Blair forecasts:
"We believe the most critical trend for OmniVision’s business this year is what we are calling the selfie trend. The basic idea is that front facing cameras on smartphones have generally been VGA – 1MP over the last 5 years. We believe that this is shifting in 2015 to 5MP — 13MP sensors for front-facing cameras. We expect to initially see this at the high end of the market, but we anticipate the trend will quickly filter into mid-tier models as well. We recently saw evidence of this trend at CES with a few models that had 5MP – 13MP front facing cameras (from Samsung and HTC notably) and we expect MWC in early March to showcase numerous additional models. This trend is critical, as it meaningfully lifts dollar content per handset and raises overall ASPs/ revenues, and provides a bump to gross margins as well."
"We believe the most critical trend for OmniVision’s business this year is what we are calling the selfie trend. The basic idea is that front facing cameras on smartphones have generally been VGA – 1MP over the last 5 years. We believe that this is shifting in 2015 to 5MP — 13MP sensors for front-facing cameras. We expect to initially see this at the high end of the market, but we anticipate the trend will quickly filter into mid-tier models as well. We recently saw evidence of this trend at CES with a few models that had 5MP – 13MP front facing cameras (from Samsung and HTC notably) and we expect MWC in early March to showcase numerous additional models. This trend is critical, as it meaningfully lifts dollar content per handset and raises overall ASPs/ revenues, and provides a bump to gross margins as well."
Jumat, 30 Januari 2015
Intel Releases More Details on its F200 RealSense Camera
Intel publishes more info on its F200 structured light front camera.
The IR Laser Projector emits a structured pattern of Class 1 infrared light used to determine the dimensional characteristics of objects by the depth camera:
Intel explains that the right (green) pattern is, in fact, changing at fast speed, so that if one makes a picture of it at 1/30s exposure, it blurs into the left (gray) pattern. EETimes says that the projector emits 16 different patterns.
A Youtube video talks about the camera capabilities:
| RealSense F200 camera |
The IR Laser Projector emits a structured pattern of Class 1 infrared light used to determine the dimensional characteristics of objects by the depth camera:
| Laser projected structured light patterns are quite unusual |
Intel explains that the right (green) pattern is, in fact, changing at fast speed, so that if one makes a picture of it at 1/30s exposure, it blurs into the left (gray) pattern. EETimes says that the projector emits 16 different patterns.
A Youtube video talks about the camera capabilities:
ON Semi Videos
ON Semiconductor publishes a series of short videos showing its image sensor solutions:
Kamis, 29 Januari 2015
Yole Updates CMOS Sensor Market Report
Yole Developpment releases an update to its CMOS sensor report with the new market data:
"Driven by mobile and automotive applications, the CIS industry is expected to grow at a CAGR of 10.6% from 2014 - 2020, reaching a market value of US$16.2B by 2020."
"Automotive is the big story this year, as car manufacturers like Tesla, Nissan and Ford are showing off their first camera-enabled features. Market traction is particularly impressive, with most CIS players enjoying growth rates of 30% - 50%. But this is only the beginning, with most CIS players looking at this market, total revenue should reach US$800M in 2020 – for CIS sensors only. Automotive’s emerging importance promises profound implications for the CIS ecosystem. As CIS moves from a “for display” application towards a “for sensing” application, new players such as processor and software providers will become key partners for sensor design and marketing."
"Since 2010, Yole Développment has well documented the rise of back side illumination (BSI), which has now become a mainstream technology that’s captured more than 50% of CIS production... Size constraints in mobile have pushed 3D stacking BSI, which currently has 20% of the market."
"Driven by mobile and automotive applications, the CIS industry is expected to grow at a CAGR of 10.6% from 2014 - 2020, reaching a market value of US$16.2B by 2020."
"Automotive is the big story this year, as car manufacturers like Tesla, Nissan and Ford are showing off their first camera-enabled features. Market traction is particularly impressive, with most CIS players enjoying growth rates of 30% - 50%. But this is only the beginning, with most CIS players looking at this market, total revenue should reach US$800M in 2020 – for CIS sensors only. Automotive’s emerging importance promises profound implications for the CIS ecosystem. As CIS moves from a “for display” application towards a “for sensing” application, new players such as processor and software providers will become key partners for sensor design and marketing."
"Since 2010, Yole Développment has well documented the rise of back side illumination (BSI), which has now become a mainstream technology that’s captured more than 50% of CIS production... Size constraints in mobile have pushed 3D stacking BSI, which currently has 20% of the market."
Rabu, 28 Januari 2015
Samsung Technology Interests
Samsung has held Innovation Days on Jan. 19-21, 2015 in Dresden, Germany. The event was envisioned to be the "focal point for the purchase of innovative technologies in Europe." The list of the technologies that Samsung interested in is dominated by imaging items:
New technologies & innovations for wearable devices:
New technology for camera products:
New material technology:
MEMS Sensors:
Sensors:
New technologies & innovations for wearable devices:
- New user scenarios
- Next generation User Experience (UX)
- Low power components
New technology for camera products:
- Auto focus / MEMS actuator
- Optical image stabilisation
- Active Lens technology
- Actuators
- High efficiency IR sensing image sensor
New material technology:
- Transparent barrier / film
- NIM (Nano Insulation Material) Organic
- Heating surface
- Material transmitting IR rays
- Sapphire coating
- 5 axis CNC
- Technology for waterproofing / water repelling
MEMS Sensors:
- Touch Sensor, Dust or particle, Fingerprint, Force, Reed, GSR Sensors
- Ambient light / RGB Sensor
- Gesture: Optical proximity sensor / 3D time of flight -TOF
- Inertial Sensors: Accelerometers, Gyroscopes, Pressure sensor, Humidity sensor & Magnetometer
- Vital Sign Sensors (for healthcare devices): non-contact, non-invasive, motion cancelling, low power
Sensors:
- Fibre detection (cloth)
- Thermopile Sensors: Non-contact temperature sensing
- ToF = Time of Flight (measuring distance / length): non-contact distance measuring sensor
- PIR / TIR Bolometer (IR) Sensor
- Pressure
- Temperature / humidity
- Ultrasound sensor
- Flex Sensor
- Radon sensor
- Non contact sleep detection sensor
Grand View Research on CMOS Sensor Dominance
Grand View Research report "Image Sensors Market Analysis By Technology (CCD, CMOS, CIS), By Application (Automotive, Consumer Electronics, Defense & Aerospace, Industrial, Medical, Surveillance) And Segment Forecasts To 2020" dated by Aug. 2014 shows that CCD market share shrunk to 14.5% in 2012:
The global market was valued at $8,450M in 2012, and is expected to grow at a CAGR of 4.6% from 2014 to 2020.
| CIS is Contact Image Sensor here |
The global market was valued at $8,450M in 2012, and is expected to grow at a CAGR of 4.6% from 2014 to 2020.
ST SPAD Array Captures Light in Flight
ST 32x32 SPAD array developed under EU funded FP6 project Megaframe with University of Edinburgh and partners is the basis of Heriot-Watt University 20 billion fps-fast camera. The open access Nature Communications' paper "Single-photon sensitive light-in-fight imaging" by Genevieve Gariepy, Nikola Krstajić, Robert Henderson, Chunyong Li, Robert Thomson, Gerald Buller, Barmak Heshmat, Ramesh Raskar, Jonathan Leach & Daniele Faccio.
A Youtube video shows the light propagation process:
New Scientist too publishes an article on the new camera.
Thanks to LG for the link!
A Youtube video shows the light propagation process:
New Scientist too publishes an article on the new camera.
Thanks to LG for the link!
2nd International Symposium on Microoptical Imaging and Projection
2nd International Symposium on Microoptical Imaging and Projection (MIPS 2015) id to be held on March 24-26, 2015 in Jena, Germany. The symposium's call for papers mentions many invited speakers on image sensor technology:
- Bernd Buxbaum, pmdtechnologies gmbh
- Jacques Duparré, Pelican Imaging Corp.
- Tigran Galstian, Université Laval
- Flavien Hirigoyen, ST Microelectronics SA
- Ryoichi Horisaki, Osaka University
- Bernard Kress, Google [X] Labs
- Christian Perwaß, Raytrix GmbH
- Markus Rossi. Heptagon
- Sabine Süßtrunk, EPFL, IC-IVRG
Selasa, 27 Januari 2015
Camera-Based Random Number Generator
The paper on camera-based random number generator has been published half a year ago. Now the same group of researches from University of Geneve, Switzerland publishes their deck of slides "Quantum random number generation on a mobile phone" by Bruno Sanguinetti, Anthony Martin, Hugo Zbinden, and Nicolas Gisin.
And here is Youtube video of the presentation:
And here is Youtube video of the presentation:
Teledyne DALSA Announces 9MP 99um Pixel X-ray Sensor
Teledyne DALSA announces Rad-icon 3030 CMOS X-Ray sensor featuring 3096 x 3100 pixel resolution, an active area of 30.6 x 30.7 cm, and 99um pixel size. The sensor delivers real-time frame rates of up to 30 fps, a very high frame rate for such a huge area sensor weighting 9KG with package:
Rambus CEO on Lensless Image Sensor Platform
SeekingAlpha: Rambus CEO Ron Black talks about lensless image sensor project status: "Coming up in early March in Barcelona Spain is the Mobile World Congress or MWC, which is the premier wireless conference. If you recall last year at the conference, we launched our Lensless Smart Sensor, the smallest, lowest power, lowest cost image sensor on the planet and won a Best of Show from Tom's Hardware, something that frankly surprised us and that we're exceedingly proud of.
Last year's show sparked enormous interest, especially with press from prominent outlets such as the MIT Technology Review and Gizmondo, and we work inundated with interest from all segments of the industry from medical to automotive, to industrial, to consumer.
Many of the parties requested us to provide a platform for the industry at large and especially the maker community in which to innovate. At the risk of leaking too much, we will be launching such a platform at this year's MWC and hope to generate even more interest and more importantly some commercial relationships for the Lensless Smart Sensor this year and next."
Later, he says that Rambus is considering "various monetization options for our Binary Pixel and Lensless Smart Sensor solutions."
Last year's show sparked enormous interest, especially with press from prominent outlets such as the MIT Technology Review and Gizmondo, and we work inundated with interest from all segments of the industry from medical to automotive, to industrial, to consumer.
Many of the parties requested us to provide a platform for the industry at large and especially the maker community in which to innovate. At the risk of leaking too much, we will be launching such a platform at this year's MWC and hope to generate even more interest and more importantly some commercial relationships for the Lensless Smart Sensor this year and next."
Later, he says that Rambus is considering "various monetization options for our Binary Pixel and Lensless Smart Sensor solutions."
Senin, 26 Januari 2015
Pixpolar Pixel Simulations Paper
Journal of Instrumentation publishes Pixpolar's paper "Characterization of double modified internal gate pixel by 3D simulation study" by A. Aurola, V. Marochkin, and T. Tuuvab. "As it will be shown in this work thick fully depleted BSI deep buried channel double MIG image sensors have several benefits: they offer NDCDSR, interface generated dark noise and image lag free operation, very low 1/ f and RTS noise, 100% fill factor, excellent QE for low energy Xrays up to several keV as well as for NIR and visible light, very low crosstalk, inherent vertical anti-blooming mechanism, very fast operation, as well as good manufacturability with existing CMOS manufacturing lines." Unfortunately, only simulations with no measurement results have been shown.
Minggu, 25 Januari 2015
Temporal Pixel Multiplexed Imaging
Gil Bub, Oxford, UK University Research Lecturer presents fast and high resolution imaging approaches, one of them being Temporal Pixel Multiplexing (TPM):
Rumor: Microsoft New ToF Camera
I was told that the strange medallion that Alex Kipman wore on his jacket during the HoloLens presentation is in fact the newest version of Microsoft ToF camera, designed in Israel:
The same medallion appears in the Dallas Morning News and the Verge:
The same medallion appears in the Dallas Morning News and the Verge:
Jumat, 23 Januari 2015
Omnivision Proposes Feedback to Reduce FD Voltage Swing
Omnivision patent application US20150015757 "Image sensor pixel cell readout architecture" by Trygve Willassen says "The sum of the floating diffusion voltage swing and pinning voltage typically limits the supply voltage for the active pixel sensor to a minimum of 2.5-3 Volts. However, there is a continuing demand for active pixel sensors with a supply voltage of less than 2.5-3 Volts as the demands for further miniaturization of active pixel sensors increase." So, the proposal is to reduce the FD swing by a capacitive feedback through Cfb 116:
Kamis, 22 Januari 2015
Reports: Microsoft AR HoloLens Controlled by 4 Cameras
Microsoft presents a augmented reality HoloLens headset mixing the real world with computer data, featuring in a Youtube video:
Another Youtube video shows Microsoft HoloLens demo driven by gesture control:
Engadget says "There are at least four cameras or sensors on the front of the HoloLens prototype." Mashable writes "Based on a quick look at the headset, it appears to have four front-facing cameras that could be used to detect the positions of the user's hands as she interacts with holographic objects."
Another Mashable article says "The augmented-reality headgear is full of sensors, but the most powerful one may be the 3D depth sensor. It’s the same one you’ll find in the Kinect and it is capable of building a detailed 3D mesh map of a room and everything in it. Once HoloLens knows what’s in the room, it can essentially drape 3D imagery over it so that it looks as if the digital objects and textures are part of the same environment as real world walls and furniture."
Another Microsoft video briefly shows HoloLens internal design:
Wired reports that "the headset is still a prototype being developed under the codename Project Baraboo, or sometimes just “B.” Hololens chief inventor, Alex Kipman has "been working on this pair of holographic goggles for five years. No, even longer. Seven years, if you go back to the idea he first pitched to Microsoft, which became Kinect."
Seattle Times reports "The company isn’t saying how much a HoloLens will cost or when it will be broadly available but it’s likely to cost less than a high-end computer. Chief Executive Satya Nadella said it’s intended to be accessible to consumers as well as business users, though the latter seems to be a primary target."
Another Youtube video shows Microsoft HoloLens demo driven by gesture control:
Engadget says "There are at least four cameras or sensors on the front of the HoloLens prototype." Mashable writes "Based on a quick look at the headset, it appears to have four front-facing cameras that could be used to detect the positions of the user's hands as she interacts with holographic objects."
Another Mashable article says "The augmented-reality headgear is full of sensors, but the most powerful one may be the 3D depth sensor. It’s the same one you’ll find in the Kinect and it is capable of building a detailed 3D mesh map of a room and everything in it. Once HoloLens knows what’s in the room, it can essentially drape 3D imagery over it so that it looks as if the digital objects and textures are part of the same environment as real world walls and furniture."
![]() |
| Microsoft HoloLens |
Another Microsoft video briefly shows HoloLens internal design:
| HoloLens internals |
Wired reports that "the headset is still a prototype being developed under the codename Project Baraboo, or sometimes just “B.” Hololens chief inventor, Alex Kipman has "been working on this pair of holographic goggles for five years. No, even longer. Seven years, if you go back to the idea he first pitched to Microsoft, which became Kinect."
Seattle Times reports "The company isn’t saying how much a HoloLens will cost or when it will be broadly available but it’s likely to cost less than a high-end computer. Chief Executive Satya Nadella said it’s intended to be accessible to consumers as well as business users, though the latter seems to be a primary target."
Rabu, 21 Januari 2015
Leap Motion CTO on Future Human-Machine Interfaces
David Holz, Leap Motion CTO, presents his vision on future human-machine interaction in this Youtube video:
Image Sensors London Conference
Image Sensor conference to be held on March 17-19, 2015 in London, UK, has published its final agenda:
Workshop – If you can’t make it global, then let the shutter roll!
Dr Albert Theuwissen, Founder, Harvest Imaging
This workshop will deal with needs, advantages, disadvantages and characteristics of several shutter that are being used with CMOS image sensors. Most devices on the market do have a rolling shutter, but there is a need to have a global shutter like it was the case for CCDs.
Fast moving objects in the scene do deform when read out in rolling shutter mode. But switching from a rolling shutter to a global shutter is not straight forward, for sure not in the case today's characteristics of the rolling shutter devices need to be maintained (correlated-double sampling, anti-blooming, electronic shuttering, low dark current). Two global shutter types are introduced in commercial products: storage of the signals in the charge domain or in the voltage domain.
The first part of the workshop will concentrate on the basic properties of the two shutter types, as well as on the effect the rolling and global shutter have on the imager characteristics. In the second part of the workshop two existing solutions, resp. of the global shutter in the charge domain as well as the global shutter in the voltage domain will be analyzed and compared with each other. Finally a look into the future will close the workshop.
Technology push, or market pull – perspectives on maximising opportunities from technology development
Giora Yahav, General Manager - Advanced Imaging Technology Organisation, Microsoft
Daniel Doswald, Examiner, EPO
Keith Beresford, European Patent Attorney, Beresford & Co
Eiichi Funatsu, Senior Director, OmniVision
Paul Enquist, CTO, Ziptronix
Prof Ángel Rodríguez-Vázquez, R&D Director, AnaFocus
Prof Steffen Reichel, Development / Application, Advanced Optics, Schott
Satoshi Takahashi, Senior Engineer, Advantest
Dr Anders Johannesson, Senior Expert Engineer, Axis Communications
Claire Valentin, VP Marketing, Sofradir
Image sensors for low light levels with active imaging features
Pierre Fereyre, Image Sensor Design, and Gareth Powell, Strategic Marketing Manager, e2v
Dr Harald Michaelis, Head of Department, DLR Institute of Planetary Research
Raji Kannan, Founder, LensBricks
David Connah, Research Associate in Visual Computing, University of Bradford / CoFounder, Spectral Edge
Dr David Stork, Fellow and Research Director of the Computational Sensing and Imaging Group, Rambus Labs
Tarek Lulé, Automotive Camera System Consultant, ST Microelectronics
Markus Rossi, Chief Innovation Officer, Heptagon Advanced MicroOptics
Thomas Ruf, Manager Sales and New Business, First Sensor E²MS
Marcus Verhoeven, Managing Director, aSpect Systems
Jed Hurwitz, Technologist, Advanced Measurement Systems, Analog Devices
Workshop – If you can’t make it global, then let the shutter roll!
Dr Albert Theuwissen, Founder, Harvest Imaging
This workshop will deal with needs, advantages, disadvantages and characteristics of several shutter that are being used with CMOS image sensors. Most devices on the market do have a rolling shutter, but there is a need to have a global shutter like it was the case for CCDs.
Fast moving objects in the scene do deform when read out in rolling shutter mode. But switching from a rolling shutter to a global shutter is not straight forward, for sure not in the case today's characteristics of the rolling shutter devices need to be maintained (correlated-double sampling, anti-blooming, electronic shuttering, low dark current). Two global shutter types are introduced in commercial products: storage of the signals in the charge domain or in the voltage domain.
The first part of the workshop will concentrate on the basic properties of the two shutter types, as well as on the effect the rolling and global shutter have on the imager characteristics. In the second part of the workshop two existing solutions, resp. of the global shutter in the charge domain as well as the global shutter in the voltage domain will be analyzed and compared with each other. Finally a look into the future will close the workshop.
Technology push, or market pull – perspectives on maximising opportunities from technology development
Giora Yahav, General Manager - Advanced Imaging Technology Organisation, Microsoft
- So you have a great idea, what now?
- Finding a niche, or letting the niche find you
- Where next in 3D imaging, technology push or market pull in 2015 and beyond
Daniel Doswald, Examiner, EPO
- Familiarize yourself with IP - How to search for patents
- Is my idea patentable?
- Disclosure and scope of protection of a patent
- Inside the mind of a patent examiner
- Challenging a competitor’s patent in an early stage
Keith Beresford, European Patent Attorney, Beresford & Co
- Quick guide to patents and why they are important for your business
- Best practice for integrating IP protection into your R&D workflow and business strategy
- Experiences from the front lines – what happens if you draft your specification poorly
- Combatting patent trolls – what you can do to prevent and deter this activity
Eiichi Funatsu, Senior Director, OmniVision
- CMOS image sensor market and development trend
- Super high sensitivity by RGBC solution
- RGB-IR for man-machine interface
- Global shutter for machine vision
Paul Enquist, CTO, Ziptronix
- State of play with chip stacking
- Comparison of stacking using TSV's vs. hybrid bonding
- Technical benefits of the stacking approach
Prof Ángel Rodríguez-Vázquez, R&D Director, AnaFocus
- CIS technology trends and the need for ADCs in emerging applications
- ADC options and how to implement
- Limitations and areas for further study
Prof Steffen Reichel, Development / Application, Advanced Optics, Schott
- Challenges for IR cut filters with BSI chips
- Evaluation of IR filers glass materials and lens design
- Recommendation for materials specifications and performance parameters for plano-plano IR filters
Satoshi Takahashi, Senior Engineer, Advantest
- Growing manufacturing and demand requirements drive the need for test systems
- The key factors to realize high yield device testing for CIS device manufacturing
- Architecture and performances of test system capable of measuring 64 devices simultaneously at up to 2.5Gbps.
Dr Anders Johannesson, Senior Expert Engineer, Axis Communications
- Historical development of security cameras from grainy images to self-contained systems with 4K resolution and beyond
- Defining the imaging challenges in security applications
- Key aspects for further improvement in security cameras
Claire Valentin, VP Marketing, Sofradir
Image sensors for low light levels with active imaging features
Pierre Fereyre, Image Sensor Design, and Gareth Powell, Strategic Marketing Manager, e2v
- Five transistor pixel CMOS sensor for range-gated active imaging to extend usability of intelligent cameras in the most difficult conditions
- Advanced state of the art image sensors and embedded features, with emphasis on size, weight, power and cost benefits
- New applications that are enabled
Dr Harald Michaelis, Head of Department, DLR Institute of Planetary Research
- Image capture aims of the Rosetta mission
- Camera and sensor specifications, performance parameters, design considerations
- Results from the mission
- Future planetary imaging plans and aspirations and next generation camera design
Raji Kannan, Founder, LensBricks
- Hardware developments
- Advanced in processing and impact at a system level
- Market opportunities
David Connah, Research Associate in Visual Computing, University of Bradford / CoFounder, Spectral Edge
- Challenges in fusing multiple data channels into one single image for display
- Mapping the contrast (structure tensor) of a multi-channel image is mapped exactly to a 3-channel gradient field
- The problem of mapping N-D inputs to 3-D (RGB) outputs
- Applications in hyperspectral remote sensing, fusion of colour and near-infrared images and colour visualisation of MRI Diffusion-Tensor images
Dr David Stork, Fellow and Research Director of the Computational Sensing and Imaging Group, Rambus Labs
- Computational optical sensors and imagers that do not rely on traditional refractive or reflective focusing
- Computing images from raw photodiode signals
- Imager performance, features, and applications
Tarek Lulé, Automotive Camera System Consultant, ST Microelectronics
- Automotive camera needs: power, size, ambient requirements
- High sensitivity, hdr pixel architecture: choice of pixel and resulting performance
- Imager system architecture: 1.3mpix raw image sensor with 130db dynamic range and excellent low light performance
- Automotive hdr image processor: very low power companion chip for hdr colorization, with embedded video analytics and automotive interfaces
Markus Rossi, Chief Innovation Officer, Heptagon Advanced MicroOptics
- Drivers for optical depth sensing in consumer applications and review of current technologies
- Hardware solutions for depth sensing concepts
- Case examples
Thomas Ruf, Manager Sales and New Business, First Sensor E²MS
- Medical cameras come in all shapes and sizes – what challenge does this present?
- Examples of innovative camera design for X-ray apparatus, computer tomographs and stereo endoscopes
- Enabling technologies for design and assembly of complex and unique camera systems
Marcus Verhoeven, Managing Director, aSpect Systems
- Implementing hardware, software, mechanics, temperature control, optics and imaging technology for high performance imaging applications
- Example 1: Per pixel energy dispersive X-Ray architecture with a resolution of 400x400 pixels (250µm), a frame rate of 10.000 FPS which supports an energy resolution of 1keV in a range from 3-220keV
- Example 2: A new detector for proton therapy of cancer based on a stack of 12 crossed strip detectors and 24 layers of CMOS imagers
Jed Hurwitz, Technologist, Advanced Measurement Systems, Analog Devices
- The beginning of CMOS
- The glory years!
- Progress viewed from the outside
- Perspectives on the future of digital imaging
Selasa, 20 Januari 2015
Aptina Proposes In-Pixel Ramp for ADC
Aptina's patent application US20150009379 "Imagers with improved analog-to-digital circuitry" by Hai Yan and Kwang-bo Cho adds a capacitor on FD of the pixel to deliver ramp for the ADC:
"Conventional ramp circuitry applies the ramp voltage to a capacitor at the input of the comparator of the sample-and-hold circuitry. However, such an arrangement requires a high pixel supply voltage in order to support a wide range of pixel output signals sampled onto the capacitor (e.g., sufficient to support the well capacity of the pixel). The capacitor is required to have a capacitance sufficient to satisfy noise requirements such as a maximum amount of thermal (k*T/C) noise, which in turn requires the ramp circuitry to have high driving capability for driving the large capacitor. Conventional capacitors used in ramp circuitry can be hundreds of femtofarads (fF). The large sample-and-hold capacitor also occupies valuable circuit area of the imager. In addition, the pixel array is typically read by scanning pixel rows in sequential order. This sequential scanning can lead to row-dependent noise in the image output signals of the pixel array. For example, transient noise in a power supply signal is consistent throughout the pixels of a row but varies between rows. It would therefore be desirable to provide imagers with improved pixel readout and analog-to-digital conversion capabilities."
"Conventional ramp circuitry applies the ramp voltage to a capacitor at the input of the comparator of the sample-and-hold circuitry. However, such an arrangement requires a high pixel supply voltage in order to support a wide range of pixel output signals sampled onto the capacitor (e.g., sufficient to support the well capacity of the pixel). The capacitor is required to have a capacitance sufficient to satisfy noise requirements such as a maximum amount of thermal (k*T/C) noise, which in turn requires the ramp circuitry to have high driving capability for driving the large capacitor. Conventional capacitors used in ramp circuitry can be hundreds of femtofarads (fF). The large sample-and-hold capacitor also occupies valuable circuit area of the imager. In addition, the pixel array is typically read by scanning pixel rows in sequential order. This sequential scanning can lead to row-dependent noise in the image output signals of the pixel array. For example, transient noise in a power supply signal is consistent throughout the pixels of a row but varies between rows. It would therefore be desirable to provide imagers with improved pixel readout and analog-to-digital conversion capabilities."
Aptina Proposes Discontinuous Exposure Mode
Aptina's patent application US20150009375 "Imaging systems with dynamic shutter operation" by Gennadiy Agranov, Sergey Velichko, and John Ladd presents the artifacts issue:
"In conventional imaging systems, image artifacts may be caused by moving objects, moving or shaking camera, flickering lighting, and objects with changing illumination in an image frame. Such artifacts may include, for example, missing parts of an object, edge color artifacts, and object distortion. Examples of objects with changing illumination include light-emitting diode (LED) traffic signs (which can flicker several hundred times per second) and LED stop lights of modern cars.
While electronic rolling shutter and global shutter modes produce images with different artifacts, the root cause for such artifacts is common for both modes of operation. Typically, image sensors acquire light asynchronously relative to the scenery being captured. This means that portions of an image frame may not be exposed for part of the frame duration. This is especially true for bright scenery when integration times are much shorter than the frame time used. Zones in an image frame that are not fully exposed to dynamic scenery may result in object distortion, ghosting effects, and color artifacts when the scenery includes moving or fast-changing objects. Similar effects may be observed when the camera is moving or shaking during image capture operations."
The proposed solution is:
"Each image pixel in a pixel array may include a shutter element for controlling when the photosensitive element acquires charge. For example, when a pixel's shutter element is “open,” photocurrent may accumulate on the photosensitive element. When a pixel's shutter element is “closed,” the photocurrent may be drained out from the pixel and discarded.
The shutter elements may be operated dynamically by being opened and closed multiple times throughout the duration of an imaging frame. Each cycle of dynamic shutter operation may include a period of time when the shutter is open and a period of time when the shutter is closed. At the end of each cycle, the charge that has been acquired on the photosensitive element during the cycle may be transferred from the photosensitive element to a pixel memory element. By repeating this sequence multiple times, the charge accumulated on the pixel memory element may represent the entire scenery being captured without significantly unexposed “blind” time spots."
"In conventional imaging systems, image artifacts may be caused by moving objects, moving or shaking camera, flickering lighting, and objects with changing illumination in an image frame. Such artifacts may include, for example, missing parts of an object, edge color artifacts, and object distortion. Examples of objects with changing illumination include light-emitting diode (LED) traffic signs (which can flicker several hundred times per second) and LED stop lights of modern cars.
While electronic rolling shutter and global shutter modes produce images with different artifacts, the root cause for such artifacts is common for both modes of operation. Typically, image sensors acquire light asynchronously relative to the scenery being captured. This means that portions of an image frame may not be exposed for part of the frame duration. This is especially true for bright scenery when integration times are much shorter than the frame time used. Zones in an image frame that are not fully exposed to dynamic scenery may result in object distortion, ghosting effects, and color artifacts when the scenery includes moving or fast-changing objects. Similar effects may be observed when the camera is moving or shaking during image capture operations."
The proposed solution is:
"Each image pixel in a pixel array may include a shutter element for controlling when the photosensitive element acquires charge. For example, when a pixel's shutter element is “open,” photocurrent may accumulate on the photosensitive element. When a pixel's shutter element is “closed,” the photocurrent may be drained out from the pixel and discarded.
The shutter elements may be operated dynamically by being opened and closed multiple times throughout the duration of an imaging frame. Each cycle of dynamic shutter operation may include a period of time when the shutter is open and a period of time when the shutter is closed. At the end of each cycle, the charge that has been acquired on the photosensitive element during the cycle may be transferred from the photosensitive element to a pixel memory element. By repeating this sequence multiple times, the charge accumulated on the pixel memory element may represent the entire scenery being captured without significantly unexposed “blind” time spots."
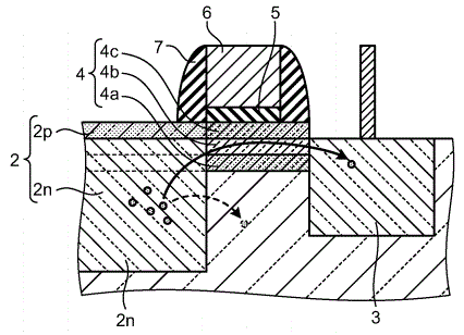
Toshiba Proposes Superlattice Underneath Transfer Gate
Toshiba patent application US20150008482 "Semiconductor device and manufacturing method thereof" by Motoyuki Sato says that making SiGe superlattice under transfer gate can drastically reduce the influence of SiO2/Si interface traps that potentially can capture photoelectrons during the transfer. The dark current and white pixel defects are also said to be reduced:
Senin, 19 Januari 2015
Counter-Drones Need 12 Cameras for Interception
Popular Science: With all the privacy concerns associated with drone usage, Rapere.io offers a counter-drone. "Simply take it outside, put it on the ground, and press the GO button. The Rapere will take off, while at the same time scanning the sky for drones. It can tell the difference between a bird and a drone, and will fly over top of any drone within range, then disable it." Rapere strikes with string by lowering a tangle line onto the rotors of its target:
Twelve 90fps VGA cameras pointing in every direction are used to guide the drone to it's target - hovering above the free floating target drone. Rapere says that detecting a free floating object which is well illuminated and far from any other visible object is easy. The counter-drone can burn lots of watts on the onboard computer, because of the short intercept flight time, which also simplifies the work.
With drones and anti-drones both using many cameras, it appears that image sensor market is set for a new explosive growth.
Twelve 90fps VGA cameras pointing in every direction are used to guide the drone to it's target - hovering above the free floating target drone. Rapere says that detecting a free floating object which is well illuminated and far from any other visible object is easy. The counter-drone can burn lots of watts on the onboard computer, because of the short intercept flight time, which also simplifies the work.
With drones and anti-drones both using many cameras, it appears that image sensor market is set for a new explosive growth.
Minggu, 18 Januari 2015
IISW Abstract Submission Deadline is Close
Less than a week left to submit abstracts to the 2015 International Image Sensor Workshop. The submission deadline is January 23, 2015
Details are in the final call for papers at http://www.imagesensors.org.
Details are in the final call for papers at http://www.imagesensors.org.
![]() |
| Vaals, The Netherlands, place for IISW 2015 |
Sabtu, 17 Januari 2015
Juha Alakarhu Interview
Windows Central publishes an interview with Juha Alakarhu, Head of Imaging Technology on the Microsoft Lumia Windows Phones. Juha talks about the new camera features in the upcoming Windows Phone Denim upgrade, probably the biggest camera upgrade since Windows Phone 8:
Tijd: CMOSIS Contemplates IPO
Belgian newspaper Tijd (Time) reports that CMOSIS is studying the possibility of an IPO. The process is still in the early stage. The company's turnover in 2014 was 50 million euros and the operating margin (EBITDA) was 30%.
80% of the company belongs to its investor TA Associates, while 20% of the stock is in hands of its founders and staff.
80% of the company belongs to its investor TA Associates, while 20% of the stock is in hands of its founders and staff.
![]() |
| CMOSIS CEO Luc De Mey (left) receives Award of the Most Promising Belgian Company of the Year, Oct. 2014 |
Rosenblatt Securities Forecasts 13MP Front Cameras in Smartphones
Barron's: Rosenblatt Securities‘s analyst Brian Blair forecasts 13MP selfie cameras in this year's smartphones: "The basic idea is that front facing cameras on smartphones have generally been VGA – 1MP over the last 5 years. We believe that this is shifting in 2015 to 5MP — 13MP sensors for front-facing cameras. We expect to initially see this at the high end of the market, but we anticipate the trend will quickly filter into mid-tier models as well. We recently saw evidence of this trend at CES with a few models that had 5MP – 13MP front facing cameras (from Samsung and HTC notably) and we expect MWC in early March to showcase numerous additional models. This trend is critical, as it meaningfully lifts dollar content per handset and raises overall ASPs/ revenues, and provides a bump to gross margins as well."
One of the new smartphones demoing this trend at CES 2015 is Saygus V2 with 21MP rear camera and 13MP front camera, both equipped with OIS:
One of the new smartphones demoing this trend at CES 2015 is Saygus V2 with 21MP rear camera and 13MP front camera, both equipped with OIS:
Jumat, 16 Januari 2015
Mobileye Video Presentation
Already linked in an earlier post, the Mobileye CTO and Chairman Amnon Shashua presentation at Deutsche Bank 2015 Global Auto Industry Conference is now published as a Youtube video:
Forza/Lattice Stacked Sensor Explained
EE Catalog publishes Forza and Lattice article with explanations on the companies' joint stacked sensor product. Forza's image sensor is stacked on top of Lattice MachXO/2/3 FPGA:
Lattice slide shows a use case example:
Lattice slide shows a use case example:
Kamis, 15 Januari 2015
Sony Low-Cost Global Shutter Sensor Features in Point Grey Cameras
Point Grey's announces its low cost 2.3 MP Blackfly BFLY-PGE-23S6 camera featuring the new Sony IMX249 Pregius image sensor, a 1/1.2-inch global shatter sensor based on 5.86um pixels. Comparing to the one year old IMX174 with the same 5.86um pixel size, the new sensor is slower (41fps vs 162fps) and has a better QE ( 82% vs 76%):
ResearchInChina: Dual Cameras and OIS to Fuel Camera Module Growth
ResearchInChina publishes its latest "Global and China CCM (CMOS Camera Module) Industry Report, 2014-2015." Some data from the report:
"In 2014, global CCM market size was worth about USD16.402 billion, growing by 13.4% from 2013, mainly stimulated by higher camera pixel of mobile phone and OIS. It is expected that OIS will expand rapidly in 2015, spurring CCM market to rise by 15.9% to USD19.018 billion. Also, the camera pixel of mobile phone will continue to be improved, being one of stimuli for market growth.
In 2014, iPhone 6Plus took up the largest share of mobile phones which adopt OIS with shipments of 18.20 million (about 25%), followed by Samsung Galaxy Note4 with shipments of about 6 million. It is projected that Samsung S6 and most of flagship phones in China will use OIS, and new generation Apple phone will also fully adopt OIS. It is estimated that shipments of mobile phones adopting OIS will amount to 178 million in 2015, surging by 145% against 2014, and will reach 361 million in 2017.
There are two technological routes for OIS camera module of mobile phone: one is based on Pure shift OIS Motor and the other Tilt-shift AF Motor. Pure shift has significant advantage over Tilt-shift, as the standard has long been established, system maturity is excellent, performance is the best, and supply chain is the most mature with majority of suppliers being Japanese ones. The bulk of vendors like Apple and Nokia adopt Pure shift. Even though the camera has to protrude, Apple insists on using Pure shift, showing powerful competitiveness of Pure shift. Vendors in Mainland China and HTC adopt Tilt-shift without a universally accepted standard. Moreover, there are lots of work to be done by CCM vendors. Low output and lack of unified standard cause the loss of its theoretically low cost advantage. The market may leave no growth room for Tilt-shift, and be swiftly captured by Pure shift.
Qualcomm and MediaTek planned to integrate dual lens software function into chipset and CRB (Customer Reference Board), thus greatly boosting percentage of high-end mainstream mobile phones using dual lens. However, dual lens provide only more special effects, but can’t enhance camera performance. Seen from configuration of HTC M8, the mobile phone has 4MP dual cameras, still a gap with mainstream 8 million pixel high-end mobile phones, obvious positioned as a middle-range phone.
If dual cameras both adopt high-pixel CCM, the cost will surge and may surpass that of OIS. Consumers has very low acceptance of dual lens compared with OIS. After all, Apple, Samsung, Nokia and LG have mainstream models using OIS, in contrast to two non-mainstream mobile phones adopting dual lens. Hence, dual lens may appear on middle-range mobile phones, and are unlikely to be utilized by a large number of vendors.
In CIS field, Sony continues to outshine rivals, leading high-end market and chased by OVT, but Samsung is falling short of its desires. With regard to lens, Largan sweeps over the world, grasping almost 90% of profit in the field and leading to sharp decline in revenue and partly operating loss of South Korean vendors which seek to advance into high-end segment. In CCM field, Sharp benefited from OIS and its revenue surged.
SEMCO is the largest supplier for Samsung. In order to reduce its dependence on Samsung and enter the burgeoning mobile phone market in Chinese Mainland, the company spared no effort to exploit the mainland market, but achieved poor results, not only failing to open up the market, but also loosing major customer- Samsung, with revenue declining distinctly. LITEON filled the position of SEMCO quickly, and became the second largest supplier of OIS for Samsung, behind Sharp. LITEON saw a surge in revenue in 2014.
LG INNOTEK is still the largest supplier for Apple, with slight rise in revenue. Thanks to big increase in shipments from major customers including Xiaomi, Lenovo and OPPO, Sunny Optical Technology also saw a substantial rise in revenue. In addition, Sony also entered CCM field with ambition, aiming to earn revenue of over USD1 billion in 2017. Undoubtedly, the competition in CCM field will prick up, and the gross margin will inevitably slide."
"In 2014, global CCM market size was worth about USD16.402 billion, growing by 13.4% from 2013, mainly stimulated by higher camera pixel of mobile phone and OIS. It is expected that OIS will expand rapidly in 2015, spurring CCM market to rise by 15.9% to USD19.018 billion. Also, the camera pixel of mobile phone will continue to be improved, being one of stimuli for market growth.
In 2014, iPhone 6Plus took up the largest share of mobile phones which adopt OIS with shipments of 18.20 million (about 25%), followed by Samsung Galaxy Note4 with shipments of about 6 million. It is projected that Samsung S6 and most of flagship phones in China will use OIS, and new generation Apple phone will also fully adopt OIS. It is estimated that shipments of mobile phones adopting OIS will amount to 178 million in 2015, surging by 145% against 2014, and will reach 361 million in 2017.
There are two technological routes for OIS camera module of mobile phone: one is based on Pure shift OIS Motor and the other Tilt-shift AF Motor. Pure shift has significant advantage over Tilt-shift, as the standard has long been established, system maturity is excellent, performance is the best, and supply chain is the most mature with majority of suppliers being Japanese ones. The bulk of vendors like Apple and Nokia adopt Pure shift. Even though the camera has to protrude, Apple insists on using Pure shift, showing powerful competitiveness of Pure shift. Vendors in Mainland China and HTC adopt Tilt-shift without a universally accepted standard. Moreover, there are lots of work to be done by CCM vendors. Low output and lack of unified standard cause the loss of its theoretically low cost advantage. The market may leave no growth room for Tilt-shift, and be swiftly captured by Pure shift.
Qualcomm and MediaTek planned to integrate dual lens software function into chipset and CRB (Customer Reference Board), thus greatly boosting percentage of high-end mainstream mobile phones using dual lens. However, dual lens provide only more special effects, but can’t enhance camera performance. Seen from configuration of HTC M8, the mobile phone has 4MP dual cameras, still a gap with mainstream 8 million pixel high-end mobile phones, obvious positioned as a middle-range phone.
If dual cameras both adopt high-pixel CCM, the cost will surge and may surpass that of OIS. Consumers has very low acceptance of dual lens compared with OIS. After all, Apple, Samsung, Nokia and LG have mainstream models using OIS, in contrast to two non-mainstream mobile phones adopting dual lens. Hence, dual lens may appear on middle-range mobile phones, and are unlikely to be utilized by a large number of vendors.
In CIS field, Sony continues to outshine rivals, leading high-end market and chased by OVT, but Samsung is falling short of its desires. With regard to lens, Largan sweeps over the world, grasping almost 90% of profit in the field and leading to sharp decline in revenue and partly operating loss of South Korean vendors which seek to advance into high-end segment. In CCM field, Sharp benefited from OIS and its revenue surged.
SEMCO is the largest supplier for Samsung. In order to reduce its dependence on Samsung and enter the burgeoning mobile phone market in Chinese Mainland, the company spared no effort to exploit the mainland market, but achieved poor results, not only failing to open up the market, but also loosing major customer- Samsung, with revenue declining distinctly. LITEON filled the position of SEMCO quickly, and became the second largest supplier of OIS for Samsung, behind Sharp. LITEON saw a surge in revenue in 2014.
LG INNOTEK is still the largest supplier for Apple, with slight rise in revenue. Thanks to big increase in shipments from major customers including Xiaomi, Lenovo and OPPO, Sunny Optical Technology also saw a substantial rise in revenue. In addition, Sony also entered CCM field with ambition, aiming to earn revenue of over USD1 billion in 2017. Undoubtedly, the competition in CCM field will prick up, and the gross margin will inevitably slide."
Rabu, 14 Januari 2015
Forza Celebrates 14th Year in Business
Semiconductor Packaging News publishes a message from Forza Silicon's President and Co-Founder Barmak Mansoorian. Few quotes:
"In 2015, Forza Silicon will be celebrating its 14th year in the business of delivering innovative custom CMOS image sensor (CIS) and IC design solutions. ...Primarily through long-standing customer relationships and partner referrals, Forza has grown to where today the company employs one of the industry's largest and most experienced independent CMOS imaging engineering teams."
"We expect strong and steady growth in the CMOS image sensor market, particularly for consumer applications (wearable, mobile), automotive imaging, machine vision, security & surveillance and medical imaging."
"The recently introduced Forza Reconfigurable Image Sensor Technology Platform, utilizing advancements in stacked chip technology, is an example of how advanced imaging technology can be leveraged into real value for our customers. The image sensor has numerous reconfigurable capabilities and can be programmed to perform multiple monitoring and decision-making tasks at the sensor "edge... Furthermore, we believe 3D wafer stacking is the next step for image sensors. Forza is already on the leading edge of 3D integration imaging techniques to drastically improve system performance to levels once thought impossible. We’ve applied this technology in our projects with the DARPA SCENICC Program: Soldier Centric Via Computational Cameras and other DoD initiatives."
Once we are at Forza, its recent patent application US20150008308 "Analog-to-digital converter with redundancy for image sensor readout" by Steven Huang, Ali Mesgarni, and Daniel Van Blerkom proposes to add few redundant steps in SAR ADC flow, so that the MSB conversion steps can start earlier, without waiting for the complete settling of the column voltage:
"In 2015, Forza Silicon will be celebrating its 14th year in the business of delivering innovative custom CMOS image sensor (CIS) and IC design solutions. ...Primarily through long-standing customer relationships and partner referrals, Forza has grown to where today the company employs one of the industry's largest and most experienced independent CMOS imaging engineering teams."
"We expect strong and steady growth in the CMOS image sensor market, particularly for consumer applications (wearable, mobile), automotive imaging, machine vision, security & surveillance and medical imaging."
"The recently introduced Forza Reconfigurable Image Sensor Technology Platform, utilizing advancements in stacked chip technology, is an example of how advanced imaging technology can be leveraged into real value for our customers. The image sensor has numerous reconfigurable capabilities and can be programmed to perform multiple monitoring and decision-making tasks at the sensor "edge... Furthermore, we believe 3D wafer stacking is the next step for image sensors. Forza is already on the leading edge of 3D integration imaging techniques to drastically improve system performance to levels once thought impossible. We’ve applied this technology in our projects with the DARPA SCENICC Program: Soldier Centric Via Computational Cameras and other DoD initiatives."
Once we are at Forza, its recent patent application US20150008308 "Analog-to-digital converter with redundancy for image sensor readout" by Steven Huang, Ali Mesgarni, and Daniel Van Blerkom proposes to add few redundant steps in SAR ADC flow, so that the MSB conversion steps can start earlier, without waiting for the complete settling of the column voltage:
Primoceler to Supply Space-Qualified Glass Packages for Image Sensors
PR Newswire: Tampere, Finland-based Primoceler announces a new contract with the European Space Agency to design and manufacture CMOS sensor packages for orbital missions. Working with Primoceler on this contract will be ON Semiconductor. Based on ON Semiconductor's HAS3 hermetic design, CMOS sensors are encased in an impermeable seam of glass using laser welding technology, which helps to avoid any problems due to thermal changes, ensuring long-time stability.
"Hermeticity testing from a US laboratory proves that our glass weld has better than 6,0x10-12 atmcc3/s Kr-85 leakage rate, well exceeding the current military and aerospace standards," explained Ville Hevonkorpi, general manager at Primoceler. "Our new ESA contract marks the continuation of a fruitful and productive relationship. We're pleased to be involved with missions that will advance scientific knowledge and inspire humanity's quest for a better understanding of the universe."
"Hermeticity testing from a US laboratory proves that our glass weld has better than 6,0x10-12 atmcc3/s Kr-85 leakage rate, well exceeding the current military and aerospace standards," explained Ville Hevonkorpi, general manager at Primoceler. "Our new ESA contract marks the continuation of a fruitful and productive relationship. We're pleased to be involved with missions that will advance scientific knowledge and inspire humanity's quest for a better understanding of the universe."
Future of Automotive Cameras
Mobileye published its presentation at Deutsche Bank 2015 Global Auto Industry Conference on Jan 13, 2015 with the company's Chairman and CTO Amnon Shashua talking about automotive camera trends. Few slides from the presentation:
Thanks to MM for the link!
Thanks to MM for the link!
Selasa, 13 Januari 2015
Recent Image Sensor Theses
A number of recent theses published by various universities over the last year have not been covered in this blog for various reasons. Here is a quick catch-up:
- University of Calgary, Canada published MSc thesis "High-Performance CMOS Image Sensor and System for Imaging Tissue Hemodynamics" by Xiao Zhang.
- Universite Pierre et Marie Curie, Paris, France publishes PhD thesis "Asynchronous Event Based Vision: Algorithms and Applications to Microrobotics" by Zhenjiang Ni
- Linkoping University, Sweden publishes dissertation "Geometric Models for Rolling-shutter and Push-broom Sensors" by Erik Ringaby.
- University of Trento, Italy publishes PhD thesis "Design and characterization of SPAD based CMOS analog pixels for photon-counting applications" by Ekaterina Panina.
- University of Waterloo, Canada published MSc thesis "Phosphor Coated UV Responsive CCD Image Sensors" by Stefan Alexander
- University of Texas at Austin published PhD thesis "Video Stabilization and Rectification for Handheld Cameras" by Chao Jia.
- Carleton University, Ottawa, Canada published MSc thesis "Low Power Parallel Rolling Shutter Artifact Removal" by Nick Stupich.
- Universidade Federal de Minas Gerais, Brazil, published PhD thesis "Simplified Wide Dynamic Range CMOS Image Sensor with 3T APS Reset-Drain Actuation" by Carlos Augusto de Moraes Cruz.
Latest Jot Pixel Paper
Open-access IEEE Journal of the Electron Devices Society publishes an early-access paper "A Pump-gate Jot Device with High Conversion Gain for a Quanta Image Sensor" by Jiaju Ma and Eric Fossum. The new jot sensor uses BSI pixel with charge stored under TG:
A special precaution has been made to reduce the FD capacitance by spacing it away from TG and making RST gate of trapezoidal shape:
The simulated CG of the jot is 380uV/e for a 1.4um pixel in 65nm process (FD capacitance of 0.4fF). The work was sponsored by Rambus.
A special precaution has been made to reduce the FD capacitance by spacing it away from TG and making RST gate of trapezoidal shape:
The simulated CG of the jot is 380uV/e for a 1.4um pixel in 65nm process (FD capacitance of 0.4fF). The work was sponsored by Rambus.
Langganan:
Komentar (Atom)








